June 21, 2021

Share:

In recent years, lighting has rapidly moved from a relatively low-tech area comprising incandescent or fluorescent bulbs that did little more than light space into a growing high-tech market.

This revolution in lighting is possible, in no small part, by the availability of low-power LEDs and highly efficient, increasingly intelligent light drivers.

While many may see the idea of transmitting data via light as a new concept, it has been around since 1880, when Alexander Graham Bell (inventor of the telephone) developed his ‘photophone’ that was able to transmit voice by means of visible light.

Radiofrequency (RF) became the most popular medium for long-range data transmission for many reasons, including the ability to cover long distances that were not a realistic possibility with light.

However, in recent years – due to the increasingly crowded RF spectra – there’s been a greater interest in using light as a data transmission medium.

Indeed, there are many advantages of using visible light for data – especially indoors. The crowded RF spectra mean that there is far greater interference from adjacent frequencies, requiring more shielding and filtering that adds cost to designs.

The visible light spectrum covers the 430 THz to 790 THz band which is unregulated and fully available.


figure_vlc___figure_1

Figure 1. VLC systems typically use the visible light portion of the spectrum

Many communication systems require low latency operation, such as those being explored for vehicle-to-vehicle (V2V) communications. Brake lights could be modulated to let the vehicle behind know that the brakes have been operated – this would be instant, but with RF a delay could be disastrous. RF is easily intercepted while the localized nature of light adds to security, especially as light cannot penetrate walls in the way that RF can.

Modulating the light intensity or frequency of existing LED-based luminaires allows data to be transmitted in much the same way as an RF carrier wave is modulated. This opens up a number of applications including light-based Wi-Fi style networking and underwater usage. Additionally, RF is incompatible with certain environments including oil, gas and mining where there are explosive atmospheres, and hospitals and on-board aircraft where interference with sensitive equipment has to be avoided.

The ability to transmit data via light requires little if any power over and above what is needed for the LEDs and installation costs are low as, in many cases, the lighting is already in place. While the flickering of the lights can be easily detected by a receiver, such as a smartphone, the frequencies used are imperceptible to humans due to their persistence of vision, so there is no user impact with this technology.

Once data is able to be transmitted by light, then a number of interesting and innovative applications arise. One such application uses light to create an indoor positioning system that works similarly to GPS, but without the problems associated with traditional approaches. It is generally hard to get GPS signals to penetrate buildings and as signals reflect off walls, the multipath propagation makes accurate positioning almost impossible. Similar reflection problems exist with other RF-based approaches, including Bluetooth® Low Energy (Bluetooth LE), limiting accuracy to within a few meters.

By embedding a unique identifier or address within each LED ballast and modulating this into the LED driver, each luminaire within a building can transmit a unique code that is associated with its exact position. This signal can be detected by a device such as a smartphone camera and a relatively simple algorithm can triangulate three (or more) luminaire signals to provide accuracy within 30 cm – a factor of ten better than Bluetooth LE technology-based positioning systems.

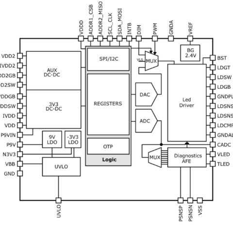
With efficiency and compact size being two primary considerations for visible light communication (VLC) systems, designs can be challenging, especially for those less experienced in this area. However, an advanced light engine from ON Semiconductor- the NCL31000- integrates all of the functions needed for visible light communication into a compact IC


figure_nlc_fig_2

Figure 2. The NCL31000 Advanced Light Engine

As well as a 97% efficient LED driver that supports PWM dimming to zero current, the NCL31000 includes highly efficient, EMI-compliant DC-DC converters for driving system components such as sensors. The accurate dimming permits VLC operation and the ability to dim to true dark ensures that there is no ‘ghost’ light. Furthermore, an onboard analog to digital converter (ADC) provides accurate and detailed diagnostics that can be sent to a local MCU via the inbuilt I2C or SPI bus. The NCL31000 is offered alongside a companion device- the NCL31001- that supports multi-channel LED applications.

By adding support for indoor positioning technology with the NCL31000 LED driver, ON Semiconductor is ready to support the bright future of connected lighting.

Design Resources

 

Be sure to subscribe to our blog and follow us on social media to receive the latest updates on our technologies, solutions and company news!

Twitter | Facebook | LinkedIn | Instagram | YouTube